{{alert.message}}

kanaalplaatanker elvz fischer

FHY M10X52MM

Artikelnummer: 00372554
EAN: 4006209301487

Direct leverbaar
0 stuks in vestiging Centraal magazijn
  • Afm. M10x52mm
  • Voorgespannen beton
  • Elektr. verzinkt
100 stuks
486,52
Korting: 20 %

389,22

incl. btw 470,96

Productomschrijving

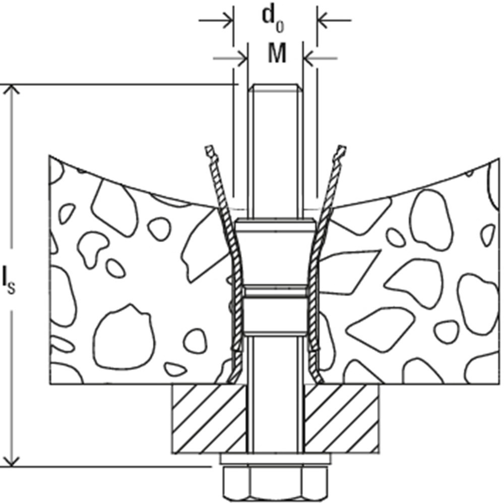
Het fischer Kanaalplaatanker FHY is een inslaganker met binnendraad van gegalvaniseerd staal. De FHY wordt in de voorsteekmontage met de hand in het boorgat geplaatst en met de hamer lijnend ten opzichte het oppervlak van het bouwmateriaal ingetikt. Door het uitoefenen van het aanhaalmoment wordt de conus in de spreidhuls getrokken. In de holle ruimte spreidt de conus zich uit en in massief bouwmateriaal spant deze zich tegen de wand van het boorgat. Het fischer Kanaalplaatanker FHY is ideaal voor de bevestiging van buisleidingen, kabelgoten en ventilatieleidingen in holle platen van spanbeton binnenshuis.

Voordelen
  • Het actieve principe van het anker brengt met zich mee dat de FHY kan worden gebruikt in holten of in massieve materialen tot 5 cm vanaf de wapening. Dit garandeert een optimale flexibiliteit en gebruiksvriendelijke montage
  • De rand met reliëf voorkomt dat de ankerhuls wegglijdt in de holte en garandeert daardoor een probleemloze montage
  • De geoptimaliseerde geometrie minimaliseert de zetenergie en maakt daardoor een gebruik in extreem kleine ruimten mogelijk. Dit maakt een gebruiksvriendelijke montage mogelijk
  • De metrische inwendige schroefdraad maakt het gebruik mogelijk van de standaard schroeven of draadstangen voor een ideale aanpassing voor het beoogde gebruik

Technische gegevens

pluglengte52mm
min. verankeringsdiepte40mm
boor-ø16mm
max. inschroefdiepte60mm
min. boorgatdiepte65mm
min. inschroefdiepte52mm

Gerelateerde producten