{{alert.message}}

vensterbankdrager staal wit

ES6814B 140MM

Artikelnummer: 00024556
EAN: 8714140128013

Direct leverbaar
17 stuks in vestiging Centraal magazijn
  • Verstelbaar
  • Draagvlak 140mm
  • Draagkracht 33kg

7,24
Korting: 8 %

6,66

incl. btw 8,06

Productomschrijving

Vensterbankdrager / draagvlak 140 mm / staal wit geëpoxeerd

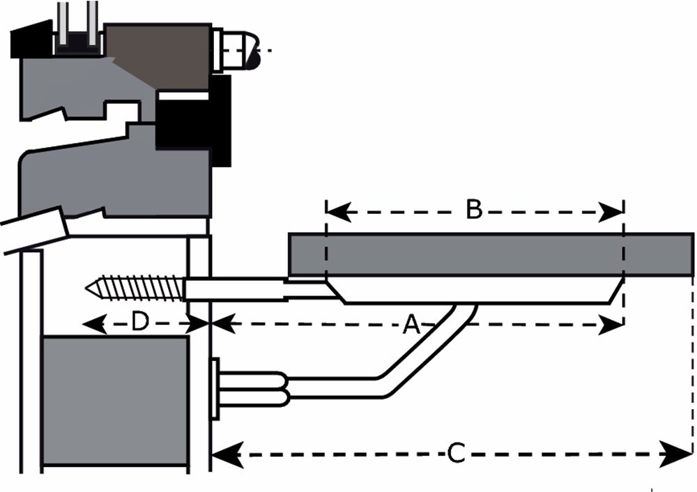
Technische gegevens

draagkracht per 233kg
breedte (A)140mm
maximale plankbreedte (C)200mm
draagvlak (B)100mm
inboormaat (D)63mm